在TSN、车载网络与工业自动化等场景中,时间同步精度直接决定分布式系统的性能边界—— 哪怕微秒级偏差,都可能导致传感器与执行器协同失效。
为了帮大家完整掌握IEEE 802.1AS(时间敏感网络定时和同步协议,以下简称AS)同步逻辑,虹科AS三部曲已来到终章,先快速衔接前两篇核心:
第一篇《如何理解TSN同步概念中的时钟角色?》拆解了同步体系里各类时钟的定位与协作关系,理清「谁主导、谁跟随」的基础逻辑;
第二篇《TSN同步运行机制:多级设备同步如何避免误差累积?》聚焦多级同步链路,讲透同步过程中误差「不叠加」的关键设计;
而这最后一篇,我们将直击「高精度」的核心:为什么AS能突破传统IEEE 1588(PTP)的精度瓶颈?硬件集成与链路层优化如何从根源减少误差?更有真实设备实测案例,带你看同步精度如何稳定在20ns内,以及如何规避补偿异常时的精度问题。想掌握AS同步的底层技术逻辑,这篇就是关键!
背景概述
时间同步精度是TSN、工业自动化等关键领域的生命线,它衡量着分布式系统内各节点时钟的协同程度,其微秒乃至皮秒级的偏差直接决定了系统性能的边界。例如分布式系统对传感器与执行器的时间协调有极高要求,微秒级的偏差足以导致操作失败。
解决这一问题的根本方法,是为所有组件建立一个统一的时间共识,即让每个局部时钟都与全局时钟源保持同步。尽管IEEE 1588精确时间协议(PTP)能利用传统以太网实现亚微秒级同步,并因此备受青睐,但其精度性能在延迟不同的大型级联网络中会急剧下降。
因此AS正开始逐步被各行业青睐,因为其能提供更高和更可靠的同步精度,根本原因在于通过简化协议、强制硬件时间戳、采用对等延迟机制并与TSN网络深度协同,IEEE 802.1AS在封闭网络中实现了较通用IEEE 1588更卓越的同步精度与可靠性。
02.
AS精度优势
AS精度更高的核心原因:
2.1 协议简化
AS通过「减法」取代繁琐来提高确定性。基础IEEE 1588为兼顾广泛适用性,内置了大量可选功能和复杂机制,这引入了不确定性。AS则反其道而行,通过做「减法」── 例如简化最佳主时钟算法并固化链路延迟测量机制 ── 有效消除了这些不确定性源。
2.2 硬件集成
精度提升的最关键因素,是AS强制与网络硬件PHY层深度集成。此举从根本上规避了软件栈带来的可变延迟,为全网建立了统一的硬件级共同时基。
2.2.1 精准时间戳点
IEEE 1588:可以在应用层、操作系统或MAC层打时间戳,最佳实践是在MAC层。
AS:强制要求在PHY层或尽可能靠近线缆的地方打时间戳。这消除了协议栈、驱动程序和交换机内部缓存的可变延迟,从源头上保证了时间戳的准确性。
2.2.2 链路延迟测量
IEEE 1588:默认使用端到端延迟机制,延迟请求和响应需要穿过整个网络路径,路径上的任何拥塞都会影响测量精度。
AS:强制使用对等延迟机制。每个Slave设备只与其直连的上一跳设备(通常是交换机)测量链路延迟。这种方式将延迟测量局部化,不受整个网络流量的影响,结果更精确、更稳定。
接下来,我们将重点分析硬件集成与链路层优化,深入剖析高精度时间同步的实现原理,并通过实验直观展示不同实现方案所带来的精度差异。
03.
延迟机制
IEEE 1588(PTP)定义了一个主从系统架构。在IEEE 1588网络中,仅存在一个处于活动状态的主节点和多个从节点。如前两篇文章所述,主节点与从节点之间会定期交换带有时间戳的消息,用于检测并校正从节点相对于主节点的偏移量和漂移值,同时测量两者间的网络延迟以进行同步调整。
为测量主从间的延迟,系统定义了两种机制:点对点(P2P)和端到端(E2E)。现在的IEEE802.1AS采用P2P模式。那么,它为何会被AS青睐,又有哪些优点值得比较?
顾名思义,P2P仅测量与相邻节点的延迟,而E2E则直接测量从节点到主节点的延迟。为深入理解,我们首先探讨这两种机制在简单配置(从节点直接连接到主节点,中间无需任何线缆)下的报文处理与计算流程。
3.1 报文处理与计算流程

首先,主设备会向从设备发送「宣告消息」与「同步消息」。在发出同步消息的瞬间,主设备记录时间戳T1。
根据其实现方式,T1可实时嵌入同步消息(一步模式),或通过后续消息单独发送(两步模式)。从设备在接收到同步消息时记录时间戳T2。
基于T1与T2,从设备可初步估算时钟偏移,但由于主从设备间的传播延迟尚未确定,此时获得的偏移量仍包含未补偿的固定延迟。
在延迟计算的具体实现上,两种机制的主要区别如下:
端到端(E2E)机制
从设备会向主设备发送延迟请求(Delay Req)消息并记录发送时间戳T3。主设备在接收该请求后记录时间戳T4,并通过延迟响应(Delay Resp)消息将T4发送给从设备。
此时从设备已掌握四个时间戳(T1-T4),可依据下述计算方法确定延迟值。
点对点(P2P)机制
在P2P网络中,情况略有不同。
从节点会向其邻居(即主节点)发送一个称为P延迟请求(PDelay Req)的消息,并记录发送时间戳T3。相邻节点在收到PDelay Req消息时会获取时间戳T4。
随后,该设备会发送一个包含T4和T5时间戳的P延迟响应(PDelay Resp),并同步记录发送时刻T5(根据节点能力,可即时插入响应消息,或通过后续消息发送)。当从设备接收到P延迟响应时,会记录接收时间戳T6。
此时从设备已具备四个时间戳(T3-T6),可按照以下公式计算延迟值。值得注意的是,与端到端机制不同,主设备(或相邻节点)也会采用相同方式计算延迟值。
3.2 机制对比与核心要点
因此,端到端(E2E)的延迟计算基于主节点发送的同步消息,而点对点(P2P)的延迟计算则完全独立于同步消息。这意味着,要获得高精度的延迟测量,两个时钟的频率必须尽可能接近。对于端到端(E2E)系统而言,这一点尤为重要。在点对点(P2P)机制中,频率同步同样至关重要。
两种延迟测量机制均基于一个关键前提:传输路径延迟对称,这一条件在标准以太网中通常成立。在获得传播延迟后,系统可结合同步阶段采集的时间戳(T₁与T₂)计算出主从设备间的实际时钟偏移,进而对从设备的时钟相位进行校正。该相位校准过程随每一轮同步消息的执行而持续进行。
实现高精度同步的另一关键参数是频率漂移,即主从设备振荡器之间的固有频率差异。为校准此频率偏差,需借助连续两次同步过程中所记录的时间戳序列(T₁、T₁‘、T₂与T₂’)。
通过分析这四个时间戳,从设备可准确测算出频率差异并进行动态补偿。待频率与相位均得到完整校准后,从设备即可实现与主设备的高精度时钟同步。
04.
时间戳点
同步精度直接取决于时间戳的准确程度,这些时间戳必须尽可能精确地标记出发送与接收的实际时刻。
从设备对时钟偏移(Offset)和传输延迟(Delay)的计算,均基于在不同位置采集的时间戳之差。因此,主从时钟必须采用相同的时间标度,即保持一致的频率。这一要求通过漂移补偿机制实现:从设备借助控制回路微调其时钟速率,适当加速或减速。若两者频率存在差异,将直接影响同步结果的准确性。
此外,系统假设通信路径在两个方向上的传播延迟相同。尽管在以太网链路中这一条件通常成立,但长期来看,网络重构或环境因素(如温度变化)仍可能导致其发生改变。时钟系统的响应速度受以下因素影响:同步与延迟测量的执行频率,以及控制从设备时钟的伺服回路动态特性。
综上所述,最终可实现的同步精度由以下关键因素共同决定:
时间戳的精确度
时钟源的频率稳定性
同步报文发送的时间间隔
时钟控制回路的调节特性
漂移补偿机制的性能(即主从时钟中可调整时间基准的准确性)
通信信道的对称性(即双向传输延迟是否一致且在长时间内保持稳定)

IEEE 1588(PTP)不同层级下的同步精度
如先前分析,时间戳的精确度是实现高精度时间同步的核心。以IEEE 1588(PTP)协议为例,IEEE 1588协议的时间戳支持可在系统不同层级实现,但所处层级越高,精度也随之递减。
4.1 软件应用层实现
所有PTP功能(包含时间戳单元)都在软件中处理。这是同步协议最简单的实现方式。但是对于PTP数据包,它们从线路穿过所有层,软件时间戳会导致软件处理延迟无法进行有效修正。

应用层时间戳
高精度需要硬件辅助来生成时间戳和调整时钟,而协议是在软件中实现的。因为同步精度直接取决于时间戳精度,所以最准确的方法是在尽可能靠近物理层的硬件协助下检测PTP消息并为其添加时间戳。
4.2 物理层PHY硬件时间戳实现
在物理层PHY中提供解析PTP消息并为其添加时间戳的能力,这样所有的同步事件类型报文的时间参考平面都在PHY层,能够有效的提高同步计算的精度。对于时间计算参考平面,在后文中会讲解。

物理层PHY时间戳
4.3 MAC层级硬件时间戳实现
对于MII(Media Independent Interface)即媒体独立接口,它是MAC与PHY连接的标准接口,作为IEEE-802.3定义的以太网行业标准,MII接口提供了MAC与PHY之间的互联技术。
这里只是以MII接口举例,对于一般的MAC与PHY,会有GMII/RGMII/SGMII等不同接口总线,但都是属于衍生的以太网接口规范。它可以轻松捕获、解码和修改帧(以实现单步时钟)。MII这种方法的准确性受PHY芯片时序特性的限制,因为MII的时钟是由PHY提供。所需的逻辑可以位于FPGA中或作为微控制器的一部分。

MAC层级硬件时间戳
在MAC与PHY之间(位于MII层)设置时间戳点,无需实现PHY时间戳功能即可达成目标,这种模式特别适合FPGA应用,因其采用严格的数字互连架构。采用标准化接口,对频率要求较低。接口可根据需要选择拦截模式(支持单步操作)或被动监听模式(支持双步操作)。FPGA通过拦截MAC与PHY之间的路径来提高时间戳支持。
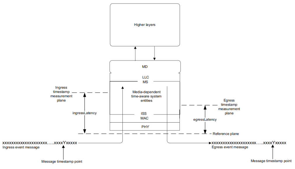
4.4 时间戳测量平面
在IEEE Std 802.1AS-2011标准规范的8.4.3中有明确的定义 ——如果实现过程中使用的事件消息时间戳并非来自消息时间戳点,则生成的时间戳应根据实际检测时间与消息时间戳点经过参考平面时间之间的时间间隔(固定或其他值)进行适当校正。
否则,时间感知系统之间会出现时间偏移。通常情况下,时间戳可能是在与参考平面不同的时间戳测量平面上生成的。此外,入站和出站事件消息的时间戳测量平面(以及该平面与参考平面的时间偏移)很可能不同。为了满足本条款的要求,生成的时间戳应针对这些偏移进行校正。

消息时间戳点、参考平面、时间戳测量平面和延迟常数的定义

其中,相对参考平面的时间戳和分别由相对于时间戳测量平面的时间戳和计算得出,计算时使用了它们各自的延迟egressLatency和ingressLatency。如果未能进行这些校正,则会导致从时钟和主时钟之间存在时间偏移。
05.
测试示例
5.1 测试配置
本文的测试示例基于虹科合作伙伴SOC-E的RelyUm系列TSN交换机所搭建的AS主从同步环境。测试采用两台RELY-TSN交换机,以点对点方式连接,具体将交换机1的Port-0与交换机2的Port-0相连。
为便于区分与管理,我们将交换机1的IP地址设置为192.168.4.64,交换机2设置为192.168.4.65。

通过该配置,用户可经由任一交换机的任一端口同时访问两者的Web配置界面。建议在实际操作中,连接至作为主时钟的交换机上的Port-1进行访问。
虹科合作伙伴SOC-E RelyUm系列
TSN测试方案

虹科为客户提供SOC-E RelyUm系列TSN IP核、板卡、TSN交换机、测试套件等一站式解决方案,覆盖从产品研发到实际应用的全链条。
无论您处于产业链的哪个环节,是进行新产品研发,还是构建完整的应用网络,都能在我们这里找到适配的产品与服务,满足您多样化的需求。
5.2 主从时钟设置
根据对最佳主时钟算法(BMCA)选取的规则,设置IP地址192.168.4.64交换机的时钟Priority1为200,192.168.4.65交换机的时钟Priority1为默认248,并开启gPTP (generalized Precision Time Protocol) 的Start功能。此时情况下,4.64交换机的时钟作为Master存在,4.65交换机作为Slave存在。


5.3 延迟补偿
因为交换是采用TSN IP核实现,并且时间戳单元处于MAC层级,需要对MAC-PHY部分进行延迟补偿修正。图中提供对10/100/1000三种不同速度下的接收和发送延迟的补偿方式。

由测试结果可见,Slave设备(交换机2)的GM clock ID与Master设备(交换机1)的PTP clock ID一致,并且GM present=true,其同步精度(GM offset)约为20ns。

在与一些传统测试厂商的案例对比中证实,在延迟补偿参数优化得当的情况下,该精度可稳定保持在20ns以内。
5.4 延迟补偿异常
在某些基于IP核的交换机设计方案中,若未预先在硬件层面对PCB布线及MAC至PHY间的收发路径延迟进行精确补偿,系统将必然引入固定的时间误差,从而导致同步精度显著下降。这本质上是因关键延迟未能在校准中被有效规避所致。
结语.
随着本篇对硬件时间戳、对等延迟机制及延迟补偿等核心原理的深入探讨,由虹科带来的AS三部曲系列至此圆满收官。
回顾整个系列,我们从「概念篇」中厘清时钟角色,到「机制篇」中剖析多级同步的误差控制,最终在「实现篇」层层深入,揭示了IEEE 802.1AS实现纳秒级同步的技术内核。
希望本系列能助您透彻理解AS协议如何为工业自动化、车载网络等领域铸就可靠的时间基石。若您希望将理论付诸实践,虹科提供的从核心设备、测试方案到技术培训的一站式TSN支持,将是您实现系统精准同步的理想选择。
作者简介
罗显志
虹科高级技术工程师,专注TSN技术领域,具有丰富的理论基础和应用经验,提供专业的TSN测试和培训服务。
- 随机文章
- 热门文章
- 热评文章
- 千年丝路瑰宝沪上绽放:宁夏固原文物展讲述文明交融故事,千年丝路瑰宝沪上绽放:宁夏固原文物展讲述文明交融故事
- 哥伦比亚国宝级艺术家80余件作品亮相广东,哥伦比亚国宝级艺术家80余件作品亮相广东
- 飞机滑行阶段私生饭强闯公务舱见偶像,律师发声,飞机滑行阶段私生饭强闯公务舱见偶像,律师发声
- 雁门关下新故事:山西代县“关城联动”激活边塞文旅新动能,雁门关下新故事:山西代县“关城联动”激活边塞文旅新动能
- 中南大学教授聂茂英文专著在美国出版 聚焦中国新时期文学,中南大学教授聂茂英文专著在美国出版 聚焦中国新时期文学
- 杨少华告别式举行 儿子差点哭晕被抬出场馆,杨少华告别式举行 儿子差点哭晕被抬出场馆
- 新疆克州第十一届玛纳斯国际文化旅游节开幕,新疆克州第十一届玛纳斯国际文化旅游节开幕
- “世界文化遗产——西夏陵”展览在银川展出,“世界文化遗产——西夏陵”展览在银川展出
- 丝路文物“素描师”:38载深耕让历史“呼吸”,丝路文物“素描师”:38载深耕让历史“呼吸”
- 林俊杰自曝心脏出问题,感叹“我还能唱多久?”经纪公司回应,林俊杰自曝心脏出问题,感叹“我还能唱多久?”经纪公司回应
- 1原创粤语音乐剧《大状王》内地火爆上演 业者望助力行业发展,原创粤语音乐剧《大状王》内地火爆上演 业者望助力行业发展
- 2一抹青色入夏来 “青·韵”特展亮相成都金沙,一抹青色入夏来 “青·韵”特展亮相成都金沙
- 3贵州省贵阳市市场监督管理局联合多部门开展集市检查 筑牢农村食品安全防线
- 4乌兰毛都草原上的札萨克图刺绣:指尖上盛开炽热之花,乌兰毛都草原上的札萨克图刺绣:指尖上盛开炽热之花
- 5正青春正时尚!广东推动粤剧“破圈”拥抱年轻一代,正青春正时尚!广东推动粤剧“破圈”拥抱年轻一代
- 62025世界制造业大会|中国电信成功举办“共筑AI底座 智领工业未来”发布会
- 7第二届中国(沈阳)喜剧电影周打造全民共享光影盛宴,第二届中国(沈阳)喜剧电影周打造全民共享光影盛宴
- 82025暑期档电影总票房破55亿 这三部必看!,2025暑期档电影总票房破55亿 这三部必看!
- 9为何买了车位,还要收管理费?
- 10中金岭南股东户数减少1199户,户均持股16.85万元
- 1《龙·中华民族的图腾》新书分享会在中国考古博物馆举办,《龙·中华民族的图腾》新书分享会在中国考古博物馆举办
- 22025上合组织国家电影节在重庆闭幕,2025上合组织国家电影节在重庆闭幕
- 3第十四届中国儿童艺术节嘉兴分会场开幕 见证央地合作硕果,第十四届中国儿童艺术节嘉兴分会场开幕 见证央地合作硕果
- 4捡到身份证怎么办?律师:交给公安机关最稳妥,捡到身份证怎么办?律师:交给公安机关最稳妥
- 5中国圆号重奏团德国巡演奏响东方旋律,中国圆号重奏团德国巡演奏响东方旋律
- 6上海迎来普希金文学大展,上海迎来普希金文学大展
- 7(八闽千姿)“刀”耕不辍 福州古稀匠人传承软木画,(八闽千姿)“刀”耕不辍 福州古稀匠人传承软木画
- 8700余中俄青少年齐聚牡丹江开展文化艺术交流,700余中俄青少年齐聚牡丹江开展文化艺术交流
- 9“良渚文明的五重奏”国风系列动画短视频全球发布,“良渚文明的五重奏”国风系列动画短视频全球发布
- 10小暑节气,也要吃饺子?,小暑节气,也要吃饺子?





